
4月17日,《乐队的夏天3》参演乐队——橘子海OrangeOcean乐队及其经纪公司连续发文,称华为终端在Pura 90系列手机营销中,未经授权大规模使用“橘子海”概念进行商业推广,侵犯了乐队的合法权益。不过,不少网友在评论区指出,此前国内有不少企业、景点以“橘子海”命名,华为使用“橘子海”算不上侵权。有律师认为,橘子海乐队作为独立音乐团体,其“橘子海”标识是否构成受法律保护的“名称权”存在争议。乐队名称是否等同于“企业名称”或“商标”存在模糊地带,若未注册为商标,仅凭“名称权”主张保护力度较弱。
橘子海乐队发声
橘子海乐队经纪公司的这份公开《严正声明》称,近日,华为终端就其旗舰产品Pura 90系列手机开展大规模商业推广活动,将“橘子海”作为该系列主推配色的核心品牌概念,配以“看惯了人山人海,就去看橘子海”“一起去看橘子海”等宣传语,在多个自媒体平台、全国多地核心商圈、地铁站点、户外大屏同步铺设。与此同时,华为终端更以“橘子海”主题对旗下品牌门店进行整体改造,将“橘子海”概念的商业使用规模扩张至线下实体空间。以上行为,严重侵犯了橘子海乐队的合法权益。
华为方面相关宣传
乐队经纪公司指出,在橘子海乐队于2012年正式以“橘子海”为名成立之前,“橘子海”作为一个独立的文化标识与品牌概念,在中文互联网及大众传播领域并不存在具有广泛认知度的对应实体。“橘子海”并非约定俗成的自然景观名称——它是由橘子海乐队三位成员共同创造、命名,并经由十余年持续的音乐创作、专辑发行、全国巡演及媒体传播,才逐步在公众认知中形成清晰、稳定的文化指向。在乐队成立并持续活跃之后,“橘子海”相关词条的搜索指数与网络声量才开始显著增长,其全部文化辨识度与市场价值,均直接源于乐队十余年的深耕积累,而非任何既有的通用语义。
公开声明
截至极目新闻记者发稿,华为终端尚未就此事作出公开回应。
与此同时,橘子海乐队在微博上表示,年初时候,华为真找过他们聊合作,当时说是参与华为新品手机的营销内容。
公开信息显示,橘子海(Orange Ocean)是中国内地英伦摇滚乐队,组建于2012年。2019年,推出乐队首张音乐专辑《浪潮上岸》。2023年,参加爱奇艺音乐节目《乐队的夏天第三季》,同年,获得微博音乐盛典“年度突破乐队奖”。


不过,对于橘子海乐队的声明,不少网友持不同意见。有网友认为,橘子海是一个普通的名字,华为使用的“橘子海”的主题配色,与乐队关联性不强,算不上侵权。另外,此前已有不少企业以“橘子海”命名,青岛还有一处景点名为“橘子海”。
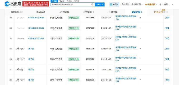
极目新闻记者以“橘子海”为关键词通过天眼查查询发现,在2013年,便有企业以“橘子海”进行命名。并且,目前国内以“橘子海”命名的企业多达400多家。

与此同时,天眼查App显示,橘子海乐队张坤明已申请注册多枚“橘子海”相关商标,国际分类涉及灯具空调、家具、教育娱乐等,当前部分商标已注册成功。此外,“橘子海”已被多方申请注册为商标,申请人包括酉阳县某装饰城、南昌某科技有限公司等,国际分类涉及餐饮住宿、通讯服务等,当前商标状态多为已注册。
广东哲清律师事务所主任律师马俊哲向极目新闻记者表示,根据《民法典》,姓名权或名称权保护的是自然人姓名、法人及非法人组织的名称。橘子海乐队作为独立音乐团体,其“橘子海”标识是否构成受法律保护的“名称权”存在争议。乐队名称是否等同于“企业名称”或“商标”存在模糊地带,若未注册为商标,仅凭“名称权”主张保护力度较弱。
马俊哲称,目前,橘子海乐队成员张坤明已申请注册多枚“橘子海”相关商标,国际分类涉及灯具空调、家具、教育娱乐等,部分商标已注册成功。若乐队已在第9类(电子产品)或相关类别注册“橘子海”商标,华为使用相同名称推广手机可能构成商标侵权。若注册类别不包含电子产品,则难以直接主张商标侵权上海股票配资平台,但可能涉及驰名商标跨类保护,需证明“橘子海”已达到驰名程度。(极目新闻记者 郭迩)
尚红网配资提示:文章来自网络,不代表本站观点。